본문 바로가기
주메뉴 바로가기
회사소개
회사소개
제품소개
스트레인게이지
계측센서/Transducer
계측장비/Data Logger
재료물성시험기
시험분석 의뢰
의뢰 및 신청 절차
보유기기목록
시험 및 용역
시험 및 용역
고객문의
고객문의
전체메뉴
메뉴
정확한 데이터, 친절한 서비스를
제공하는 제이제이콥입니다.
02-929-1127
제품소개
스트레인게이지
계측센서/Transducer
계측장비/Data Logger
재료물성시험기
재료물성시험기
제품설명서 다운로드
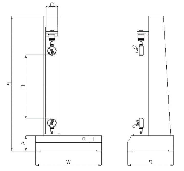
저용량 원폴 만능재료시험기
[Electronic Universal Testing Machine] 고무, 금속, 플라스틱, 와이어, 종이, 필름, 섬유 등 각종 재료의 물성 시험을 하기위한 재료물성 시험기로서 다양한 시험결과를 얻을 수 있습니다. 서보모터 제어로 정밀한 제어 및 컴펙트한 디자인으로 구성된 심플한 저하중 만능재료시험기 입니다.
목록보기